Cómo seleccionar la válvula neumática de asiento angular adecuada: una guía completa para el comprador
Elegir una válvula neumática de asiento inclinado no debería ser una tarea ...
Tamaño: DN15 a DN100
Material del cuerpo: SS304, SS316, acero al carbono
Material del sello: PTFE
Temperatura de trabajo: -20°C a 150°C
Conexión: ISO 5211 / DIN 3337 tipo wafer
Clasificación de presión: 1,6 MPa
Medios: agua, aire, gas, petróleo, aceite y líquidos en general.
Actuador: eléctrico, de encendido/apagado o control proporcional
Clase de protección: IP67 resistente a la intemperie
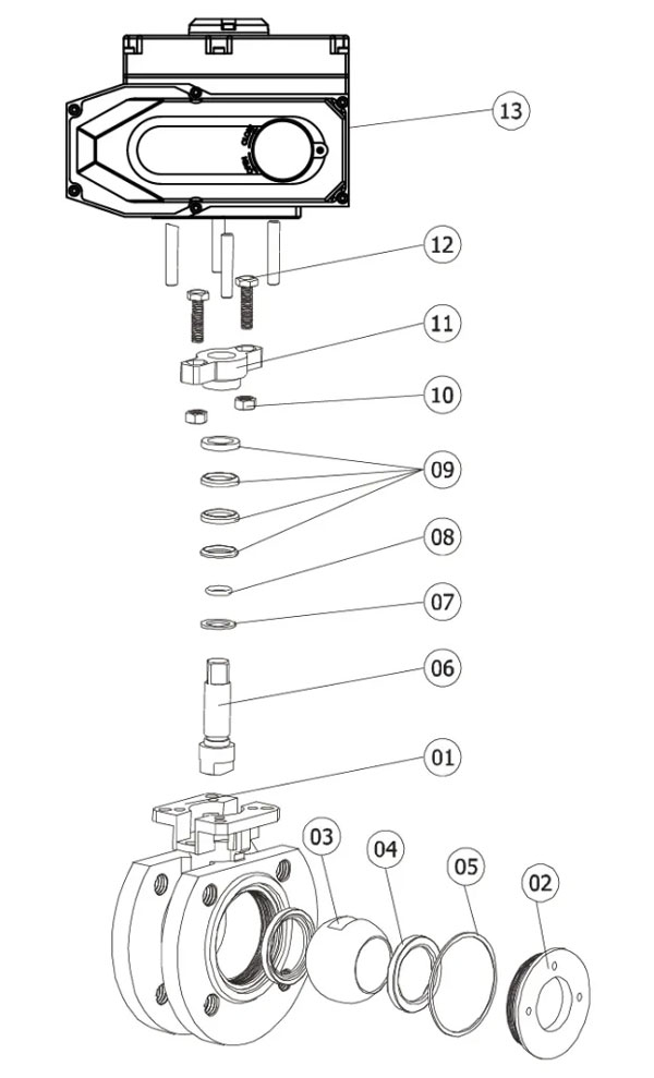
|
No. |
Nombre de la pieza |
Material |
|
|
1 |
Cuerpo de la válvula |
Acero al carbono/acero inoxidable |
|
|
2 |
Capó de válvula |
Acero al carbono/acero inoxidable |
|
|
3 |
Pelota |
Acero inoxidable |
|
|
4 |
Asiento de válvula |
PTFE/nailon/PPL |
|
|
5 |
Junta del cuerpo de la válvula |
PTFE/PPL |
|
|
6 |
Vástago de válvula |
Acero inoxidable |
|
|
7 |
Arandela de empuje |
Acero inoxidable |
|
|
8 |
Junta tórica |
PTFE |
|
|
9 |
Embalaje |
PTFE |
|
|
10 |
Tuerca |
Acero inoxidable |
|
|
11 |
Glándula |
Acero inoxidable |
|
|
12 |
Tornillo |
Acero inoxidable |
|
|
13 |
Actuador eléctrico |
Aleación de aluminio |

|
DN |
EN |
d |
L |
L1 |
L2 |
H1 |
H2 |
D |
D1 |
D2 |
Nuevo Méjico |
Modelo de actuador |
|
15 |
1/2" |
14 |
36 |
122/190 |
121.5/143 |
48 |
116/161 |
88 |
65 |
45 |
4-12 |
HEA003/HEX005 |
|
20 |
3/4" |
19 |
40 |
122/190 |
121.5/143 |
53 |
116/161 |
98 |
75 |
58 |
4-12 |
HEA003/HEX005 |
|
25 |
1" |
veinticuatro |
44 |
160/190 |
146/143 |
59 |
121/161 |
105 |
85 |
68 |
4-12 |
HEA005/HEX005 |
|
2/1 |
1 1/4" |
29 |
52 |
160/217 |
146/195 |
71 |
121/161 |
130 |
100 |
78 |
4-16 |
HEA008/HEX010 |
|
2/9 |
1 1/2" |
38 |
64 |
188/217 |
151/195 |
76 |
132.2/161 |
148 |
110 |
88 |
4-16 |
HEA010/HEX010 |
|
50 |
2" |
48 |
83 |
188/217 |
151/195 |
85 |
132.2/161 |
165 |
125 |
102 |
4-16 |
HEA010/HEX010 |
|
5/3 |
2 1/2" |
64 |
107 |
188/217 |
151/195 |
102 |
132.5/161 |
185 |
145 |
122 |
8-16 |
HEA015/HEX015 |
|
80 |
3" |
76 |
120 |
204.5/261 |
191/219 |
112 |
154/185 |
200 |
160 |
138 |
8-16 |
HEA020/HEX020 |
|
100 |
4" |
95 |
145 |
204.5/261 |
191/219 |
146 |
154/185 |
217 |
180 |
158 |
8-16 |
HEA060/HEX060 |




2026
/
Elegir una válvula neumática de asiento inclinado no debería ser una tarea ...
2026
/
Con 15 años de experiencia en fabricación y comercio global, Hearken ofrece...
2026
/
En 2026, el mercado estadounidense de válvulas solenoides estará definido p...
2026
/
Elegir la válvula correcta es vital para la eficiencia del sistema. Una ele...

MENSAJE